

座机:0771-5791162
邮箱:2604045678@qq.com
微信号:13667715899
生产基地:广西南宁市高新区科创路10号2#车间1楼1-1
浙江销售中心:浙江绍兴l中国纺织五金机电城
江苏销售中心:江苏省泰兴市黄桥镇(13809016333 汪路)

喷油器是柴油发电机组燃料供给系统的一个重要部件。其功能是将喷油泵送来的高压柴油以雾状喷射到燃烧室中,并与燃烧室中的压缩空气形成良好的可燃混合气。因此,对喷油器工作的基本要求是:有一定的喷射压力和射程,以及适当的喷雾锥角,喷雾良好,在喷油结束时能迅速停止喷油,没有滴油现象。目前柴油发电机组常采用闭式喷油器的孔式喷油器与轴针式喷油器。
孔式喷油器
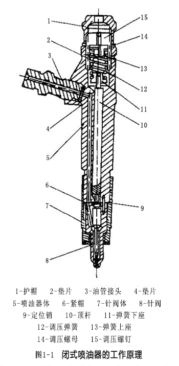
孔式喷油器主要用于直接喷射式柴油机中,按喷油嘴形式又分为长型和短型,喷孔数目为1~8个,喷孔直径为0.15~0.7mm,如图1-1所示为长回孔喷油器,它由针阀、针阀体、顶杆、调压弹簧、调压螺钉及喷油器体等组成。

喷油嘴(包括针阀与针阀体),又称针阀偶件,用优质合金钢(GCr15) 制成,并经热处理和选配研磨成对,故不能互换。其配合间隙为0.001~0.0015mm。既要保证很好滑动,又要保证不漏油。针阀有两个锥面,下部的锥面和阀体内相应的内锥面配合,称为密封锥面,以密封喷油器内腔;中部锥面在阀体的环形油腔中,以承受油压的轴向推力使针阀上升,称为承压锥面。针阀体上端有环形油槽及油道孔,下端有油腔及喷孔。针阀偶件用紧帽固紧在喷油器体上,调压弹簧通过顶杆使针阀压紧在阀座上,针阀和顶杆的接触面成球面,可防止因顶杆弯曲而使针阀产生侧向压力。调压弹簧的弹力可由调压螺钉来调节,调好后用调压螺母锁紧。
闭式喷油器的工作原理如1-2所示,来自喷油泵的高压柴油经喷油器体与针阀体内的油道进入油腔,由于喷孔被针阀关闭,腔内柴油压力便迅速上升。当作用在针阀承压锥面上的柴油压力大于调压弹簧的弹力时,针阀便沿轴向升起,喷孔被打开,于是高压柴油通过喷孔开始喷入燃烧室。由于喷孔的节流作用,被喷出的柴油形成雾状的细小颗粒,与空气迅速开成可燃混合气。这一喷油过程一直延续到喷油泵停止供油,并在喷油器腔内油压低于调压弹簧弹力时,针阀在调压弹簧作用下立即关闭喷孔,喷油才停止。

闭式喷油器的喷油压力主要取决于调压弹簧的予紧力,因此,调节调压弹簧予紧力的大小可直接改变喷油压力的大小。将调节螺钉向里旋时弹簧予紧力增大,喷油压力提高;反之,喷油压力降低。针阀升程受到喷油器体下端面及调压弹簧予紧力的限制,因此该喷油器针阀的最大升程为0.45mm以保证断油迅速。喷油器在工作期间,少量柴油从针阀与阀体之间漏出,经回油管流回柴油滤清器或油箱,同时对针阀偶件起润滑作用。
轴针式喷油器
轴针式喷油器的特点是单孔,孔径较大,一般为1~3mm。针阀端头有一定形状的销针(轴针),插入喷孔中,与喷孔构成一个很小的环状间隙(约为0.013~0.025mm ),高压柴油通过此间隙喷出。轴针的形状有圆柱形和倒锥形,如图1-3所示。喷出的柴油根据不同的轴针形状产生不同的喷雾状况。这种喷油器的优点是:轴针在喷孔中上下运动,既能改善喷雾,又能自行清除积炭,使喷孔不易堵塞,提高了柴油发电机组的工作可性。

如需了解更多相关详情欢迎关注下方微信二维码↓↓↓

扫一扫 关注微信